{"product":{"productId":"agid.3209","price":7.99,"name":"Console"},"currency":"EUR"}
- Accessory for toggle clamp with thrust rod
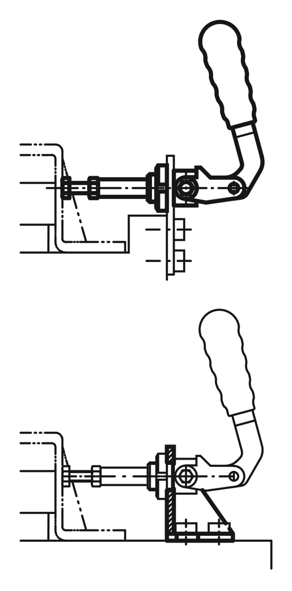
Description
Material
Body 1.0501 carbon steel.
Version
Electro zinc-plated.
Note
The clamp can be mounted with a bracket or into fixtures using the front screw.
Important note on downloading CAD models
In order to download our CAD models, you must log in first. If you have not created an account yet, please register under "My Account" (right side of the screen) and follow the instructions.