{"product":{"productId":"agid.2980","price":34.71,"name":"Clamping pins"},"currency":"EUR"}
Material
Carbon steel.
Version
Pins tempered and ground.
Knurled knob tempered, black oxidised.
Knurled knob tempered, black oxidised.
Show more
Show less
Description
Material
Carbon steel.
Version
Pins tempered and ground.
Knurled knob tempered, black oxidised.
Knurled knob tempered, black oxidised.
Note
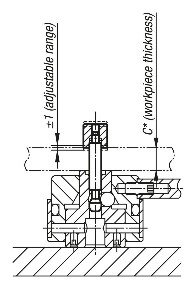
The clamping pin length must be adapted to the workpiece by the customer.
Dimension C defines the length of the clamping pin before machining.
The dimension C must be adapted by the customer to suit the thickness of the workpiece.
Afterwards, a thread with dimension J must be cut into the clamping pin.
The assembly drawing must be observed to determine the length of the clamping pin.
After machining the clamping pin to the correct overall length, the knurled knob is attached to the clamping pin using the two grub screws and locked.
Dimension C defines the length of the clamping pin before machining.
The dimension C must be adapted by the customer to suit the thickness of the workpiece.
Afterwards, a thread with dimension J must be cut into the clamping pin.
The assembly drawing must be observed to determine the length of the clamping pin.
After machining the clamping pin to the correct overall length, the knurled knob is attached to the clamping pin using the two grub screws and locked.
Important note on downloading CAD models
In order to download our CAD models, you must log in first. If you have not created an account yet, please register under "My Account" (right side of the screen) and follow the instructions.