{"product":{"productId":"agid.2390","price":29.49,"name":"Stützen verstellbar"},"currency":"EUR"}
	Werkstoff
								Vergütungsstahl.
							Ausführung
								brüniert.
							
						Mehr anzeigen 
					
						Weniger anzeigen 
				
			
				Beschreibung
							Werkstoff
						
						
								Vergütungsstahl.
					
							Ausführung
						
						
								brüniert.
					
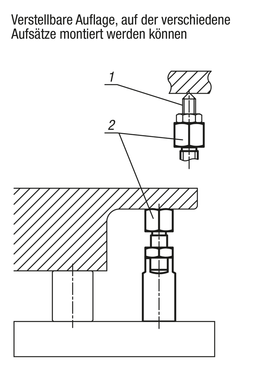
							Zeichnungshinweis
						
						
								1) Schraubenauflage
2) Stütze verstellbar
					2) Stütze verstellbar
            Wichtiger Hinweis zum Download von CAD-Modellen
        Um unsere CAD-Modelle herunter laden zu können, müssen Sie sich vorher einloggen. Sollten Sie noch kein Konto angelegt haben, registrieren Sie sich bitte unter „Mein Konto“ (rechte Bildschirmseite) und folgen Sie den Anweisungen.
        
        
        
     
                         
                         
                         
                         
			
                     
			
                     
			
                     
			
                     
			
                     
			
                     
			
                     
			
                     
			
                     
			
                     
			
                     
			
                     
			
                     
			
                     
			
                     
			
                     
			
                     
			
                     
			
                    